auteur:Éditeur du site publier Temps: 2026-04-23 origine:Propulsé
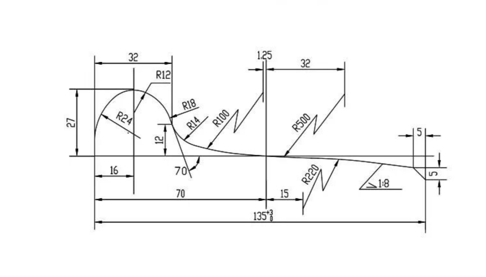
La conception du boudin et du profil de la bande de roulement d'une roue ferroviaire joue un rôle essentiel pour garantir une exploitation sûre et efficace du train. Une géométrie de contact roue-rail bien adaptée réduit non seulement l'usure et les contraintes, mais améliore également la stabilité de fonctionnement globale et les performances de négociation des courbes.
Lors de la conception du profil de la bande de roulement des roues, il est essentiel de garantir une bonne compatibilité avec la forme du champignon du rail. Une interface roue-rail idéale peut réduire efficacement les contraintes de contact et minimiser l’usure, ce qui contribue directement à :
· Performances améliorées lors du passage dans les virages
· Fréquence et coûts de maintenance réduits
· Vitesse critique accrue pour la stabilité du train
De plus, le profil de la bande de roulement nouvellement conçu doit correspondre étroitement au profil usé dans des conditions d'utilisation réelles. Cela permet de réduire la quantité de métal enlevé lors du reprofilage, prolongeant ainsi la durée de vie des roues et réduisant les coûts de maintenance.

La bride est un élément de sécurité clé qui empêche le déraillement. Sa hauteur et sa géométrie doivent être soigneusement contrôlées :
· Hauteur de bride : se situe généralement entre 26 mm et 30 mm
· Trop faible : augmente le risque de déraillement
· Trop élevé : peut provoquer une interférence avec les composants du rail tels que les boulons d'éclisse ou les épaulements, en particulier lorsque l'usure de la bande de roulement est importante
Pour un passage en toute sécurité à travers les branchements, les diamètres de roue plus petits nécessitent généralement des hauteurs de boudin plus élevées.
L'angle de la bride est également crucial. La surface extérieure de la bride doit maintenir un angle approprié avec le plan horizontal :
· Angle trop petit : risque plus élevé de montée des roues (déraillement à basse vitesse)
· Angle trop grand : augmente l'enlèvement d'usinage lors du reprofilage et peut provoquer un contact entre le dessus de la bride et le rail dans des conditions d'angle d'attaque.

Le profil de la bande de roulement est principalement déterminé par les conditions de la voie et la vitesse de circulation du train, plutôt que par la conception structurelle de la roue. Lorsqu'il n'y a pas de changements significatifs dans l'infrastructure de la voie ou dans la vitesse de fonctionnement, le profil de la bande de roulement reste généralement inchangé, même si la structure de la roue est modifiée.
Dans la plupart des cas, des profils de bande de roulement standardisés sont adoptés pour garantir la compatibilité et la fiabilité entre les systèmes ferroviaires.
La conception des boudins de roues et des profils de bande de roulement est un aspect essentiel de la sécurité et des performances des trains. En optimisant l'interaction roue-rail, en contrôlant les dimensions des boudins et en alignant la conception de la bande de roulement sur les conditions d'exploitation réelles, les exploitants ferroviaires peuvent améliorer considérablement l'efficacité opérationnelle, réduire l'usure et améliorer la sécurité globale.